傳真:
18923864027
QQ:
709211280
地址:
深圳市福田區振中路84號愛華科研樓7層
制作開關電源需要掌握的知識介紹凡是在工作著的系統都必須要有電源,而電源是否可靠穩定的運行,則影響著整個系統的工作情況。DIY一個開關
開關電源穩定性設計方法圖文解析1 分析法根據閉環系統的理論、數學及電路模型進行分析(計算機仿真)。實際上進行總體分析時,要求所有的參數
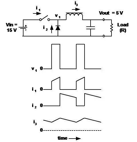
幾個開關電源拓撲結構介紹開關電源拓撲結構(一)基本的脈沖寬度調制波形這些拓撲結構都與開關式電路有關。基本的脈沖寬度調制波形定義如下
開關電源拓撲電路工作的細節介紹講解幾種拓撲結構的工作細節降壓調整器:連續導電臨界導電不連續導電升壓調整器 (連續導電):變壓器工作反
幾種常見簡易的恒流源電路介紹理想的恒流源理想的恒流源是電流不隨輸入電壓的變化而變化,不受環境溫度的影響,內阻無窮大。但是,實際中的
恒流源電路在電源模塊中的應用介紹恒流源在電源模塊中的應用在模塊電源中,小功率電源的短路保護一般不外接短路保護電路,這種模塊的特點是
反激電源MOS管D-S電壓波形產生原因解析反激電源MOS D-S之間電壓波形產生的原因?這是一個典型的問題,本質原因就是功率級寄生電容、電感引起
Buck降壓開關電源的功率損耗計算介紹直流傳導損耗采用理想組件(導通狀態下零壓降和零開關損耗)時,理想降壓轉換器的效率為100%。而實際上,
BUCK斬波電路圖,BUCK斬波電路工作原理介紹BUCK斬波電路工作原理如上圖降壓斬波電路原理圖及波形圖所示,圖中V為全控型器件,選用IGBT;D為續
反激電源變壓器計算方法,電路設計介紹反激電源變壓器反激電源的三種模式 :CCM,DCM,CRM 。上圖可見,DCM和CCM是固定頻率的,CRM是可變頻率
MOS管vd,vdsat與region的關系介紹仿真得到的region含義region=0,1,2,3;分別對應MOS管的截止區,線性區,飽和區和亞閾值區。Vgs為3 3,掃描
集成電路,MOS管的亞閾值區介紹Vds與Vdsat的關系Vds > Vdsat時,region變為2,為了保證PVT下電路仍處于飽和區,需要讓Vds -Vdsat大于某個