傳真:
18923864027
QQ:
709211280
地址:
深圳市福田區振中路84號愛華科研樓7層
多個mos管并聯驅動并聯并聯是元件之間的一種連接方式,其特點是將2個同類或不同類的元件、器件等首首相接,同時尾尾亦相連的一種連接方式。
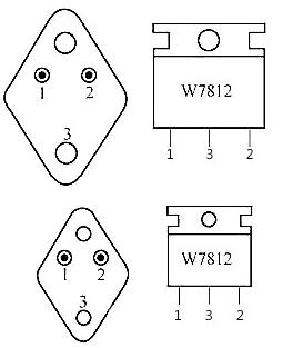
三端穩壓管好壞判斷三端穩壓管三端穩壓管是一種直到臨界反向擊穿電壓前都具有很高電阻的半導體器件。穩壓管在反向擊穿時,在一定的電流范圍
MOS管mos管場效應管(FET),把輸入電壓的變化轉化為輸出電流的變化。FET的增益等于它的跨導, 定義為輸出電流的變化和輸入電壓變化之比。
mos管測量方法mos管測量方法下圖為MOS管的標識我們主板中常用的MOS管G D S三個引腳是固定的,不管是N溝道還是P溝道都一樣,把芯片放 正
什么是封裝封裝,即隱藏對象的屬性和實現細節,僅對外公開接口,控制在程序中屬性的讀和修改的訪問級別;將抽象得到的數據和行為(或功能)
場效應管種類場效應管場效應晶體管(Field Effect Transistor縮寫(FET))簡稱場效應管。主要有兩種類型(junction FET—JFET)和金屬 -
mos管防反接電路1 mos管防反接電路通常情況下直流電源輸入防反接保護電路是運用二極管的單向導電性來完結防反接保護。如下圖1示:這種接法
功率MOS管MOSFET是較常使用的一類功率器件。MOSFET是英文MetalOxideSemicoductorFieldEffectTransistor的縮寫,譯成中文是金屬氧化物半導體
TO-220封裝,引腳順序MOS管封裝形式MOSFET芯片在制作完成之后,需要給MOSFET芯片加上一個外殼,即MOS管封裝。MOSFET芯片的外殼具有支撐、保護
電動機本文只要是講380V電機如何轉接成220V。電動機(Motor)是把電能轉換成機械能的一種設備。它是利用通電線圈(也就是定子繞組)產生旋
h橋mos管驅動電路h橋H橋是一種電子電路,可使其連接的負載或輸出端兩端電壓反相 電流反向。這類電路可用于機器人及其它實作場合中直流電動
LED驅動電源本文主要是寫影響LED驅動電源因素與提升電源壽命與電源效率方法與技巧,LED驅動電源是把電源供應轉換為特定的電壓電流以驅動LED