傳真:
18923864027
QQ:
709211280
地址:
深圳市福田區振中路84號愛華科研樓7層
結型場效應管的檢測1.判別電極與管型(1)將萬用表的轉換開關置于電阻擋的RX100擋或RXlk擋。(2)用黑表筆任接一個電極,用紅表筆依次觸碰另外
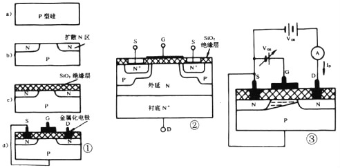
場效應管TMOS,VMOSMOSFET構造,從縱剖面來看,柵極(柵區)、源極(源區)、漏極(漏區)大致排列在同不斷線上,這樣的構造被稱為橫向溝道(
功率MOSFET主要用于計算機外設(軟、硬驅動器、打印機、繪圖機)、電源(AC/DC變換器、DC/DC變換器)、汽車電子、音響電路及儀器、儀表等領域
MESFET并不是MOSFET的筆誤,而是另一種功率JFET,它是Metal-Semiconductor Field-Effect Transistor的縮寫,大致含義是金屬—半導體場效
怎樣選用場效應管常用場效應管主要有結型場效應管、耗盡型絕緣柵場效應管、加強型絕緣柵場效應管、雙柵場效應管、功率場效應管等。(1)結型
用萬用表判別烜芯微器件VMOS的引腳和好壞判別VMOS的引腳需求以下幾步,請留意,這是在你能肯定VMOS完好的狀況下停止的判別,假如不曉得它的
mos管工作電路工作頻率和驅動信號的占空比不是很大,并且VMOS的功率規格也不是很大時,普通并不需求為VMOS配置特地的驅動電路。通用的CMOS
MOS晶體管種類按溝道區中載流子類型分N溝MOS晶體管:襯底為P型,源漏為重摻雜的N+,溝道中 載流子為電子P溝MOS晶體管:襯底為N型,源漏為
PMOS晶體管1.NMOS+PMOS-構成CMOS圖1 18所示的PMOS晶體管是在n型基底上構成p+型的源區和漏區。假如采用p型硅襯底,如圖1 19所示,在p型襯
當源極-基底間加偏置時,閾值電壓變化在很多,隋況下,MOS晶體管的源極與基底是等電位的。其結果,使圖1 31中基底(襯底或者阱)與溝道間的
柵源電流源電路圖7 2的復制電流源中,假如輸出電壓有△Vout的變動,那么電流源電路的電流將經過M2輸出電阻r02變化。這個變化量為△Iout,那
集成化的柵極驅動器件在理論上,集成化的柵極驅動器件的應用更為普遍。用于VMOS驅動的集成化器件大致有圖5 84所示的幾類,它們的基本特性