LM317三端可調正穩壓器集成電路。我國和世界各大集成電路生產商均有同類產品可供選用,是使用極為廣泛的一類串聯集成穩壓器。其內置有過載保護、安全區保護等多種保護電路。不僅具有固定式三端穩壓電路的最簡單形式,又具備輸出可調電壓(1.25-12V)的特點。本文將介紹由LM317組成的各種電源電路。
1.自適應可調穩壓電源電路

圖1 LM317構成的自適應可調穩壓電源電路
如圖1所示為自適應可調穩壓電源。本電源以LM317為穩壓器件,用自適應切換電路根據輸出電壓的高低自動切換輸入電壓,以減小輸入與輸出電壓的壓差,降低電源本身的功耗。其中VT2、VD5、VW、R5、R6、C10及繼電器K構成自適應切換動作電路,當輸出電壓Vo低于14V時,VW因擊穿電壓不夠而截止,無電流通過,VT2截止,K不動作,其觸點K-1處于常閉狀態,變壓器的次級14V交流電接入穩壓電路。反之,當輸出電壓大于14V時,VW擊穿,VT2導通。K得電,K-1動作,將28V交流電壓接入穩壓電路。從而保證了輸入與輸出壓差不超過15V。本電路的輸出電壓為1.25~30V連續可調,輸出最大電流為3A。
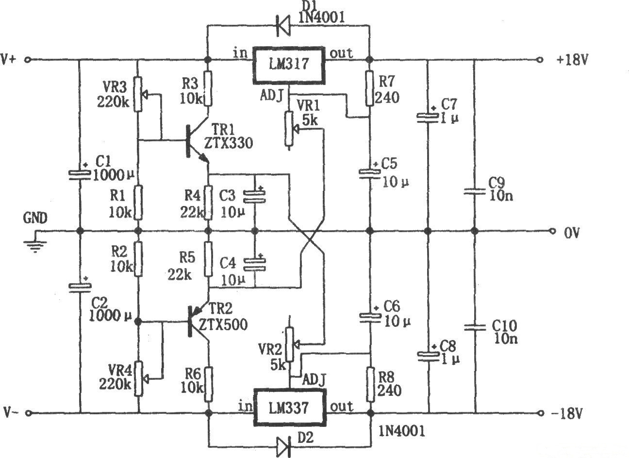
2.0~±30V、1.5A電源電路

圖2 LM317構成的0~±30V、1.5A電源電路
如圖2所示為0~±30V、1.5A電源。從圖中可以看出本電源的特點是其正負輸出電壓最小可以調到0V。LM317(LM337)正常情況下只能調到1.25(-1.25)V,但在可調三端的調整端加上了適量的反偏,使輸出電壓可以調到零。這一點是通過TH2的發射極的負電壓接在VR1上,將TH1發射極的正電壓接在VR2上而實現的。
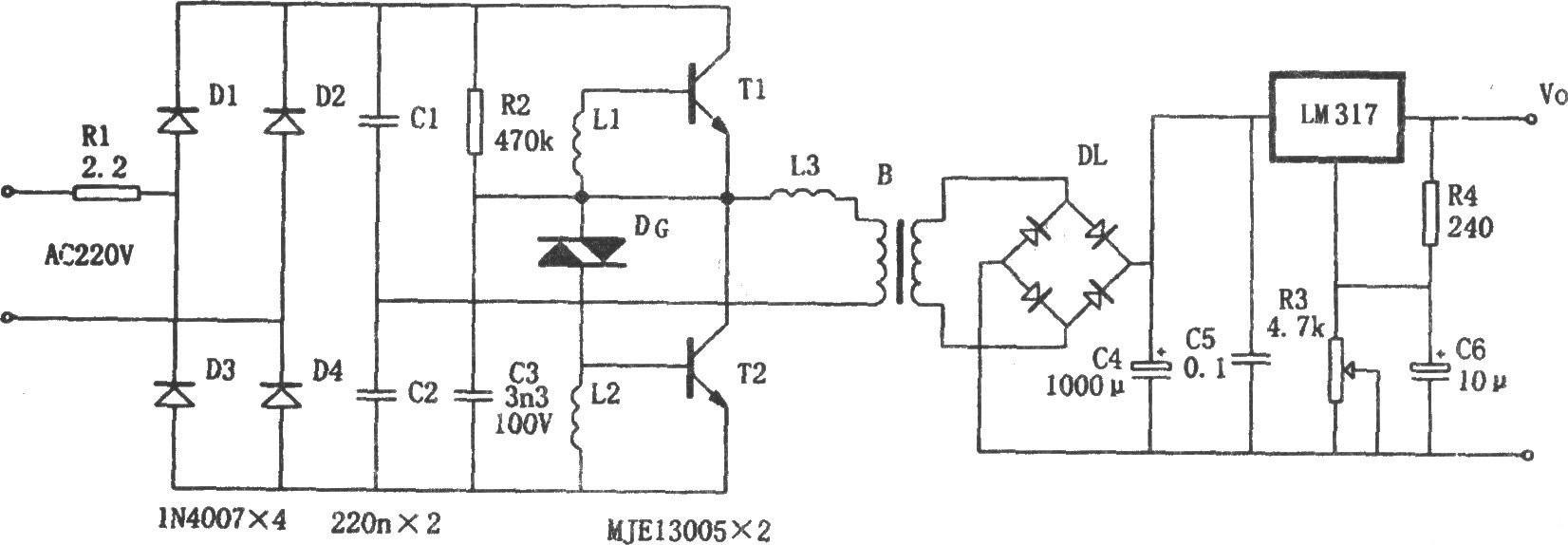
3.電子變壓穩壓電源電路

圖3 LM317構成的電子變壓穩壓電源電路
如圖3所示為電子變壓穩壓電源。該電路采用高頻振蕩的方法進行電子變壓,然后用三端穩壓器LM317進行可調穩壓。其特點是:體積小、重量輕、電路簡單。220V交流電壓經D1~D4整流變為直流高壓。該直流電壓由L1、L2、L3和T1、T2等元件組成的高頻振蕩電路變成高頻脈沖,加在高頻變壓器B的初級,經變壓在B的次級得到所需要的低壓,再經高頻整流濾波和LM317的穩壓,在LM317輸出端獲得穩定的直流電壓。
4.1.25~37V可調電源電路

圖4 LM317構成的1.25~37V可調電源電路
如圖4所示為1.25~37V可調電源電路。它是可調式三端穩壓器的典型應用電路,特點是性能好、工作穩定、體積小、制作安裝簡單方便,最大輸出電流為l.5A,輸出電壓在1.25~37V之間連續可調。它最適合做實驗用電源。
圖中C3用于濾除RP上的紋波,提高電源輸出電壓的穩定性。由于某種原因當LM317的輸出端與輸入端短路時,C2會通過LM317內部放電而損壞芯片,VD6可為C2提供放電回路。C4用來防止輸出端產生自激。VD5為保護二極管,用以防止輸入端短路時容性負載上積存的電荷向LM317放電。為了保證LM317可靠工作。Rl的阻值一般取120Ω(或240Ω)。輸出電壓Vo表達式為:Vo=1.25×(1 R2/Rp)V。
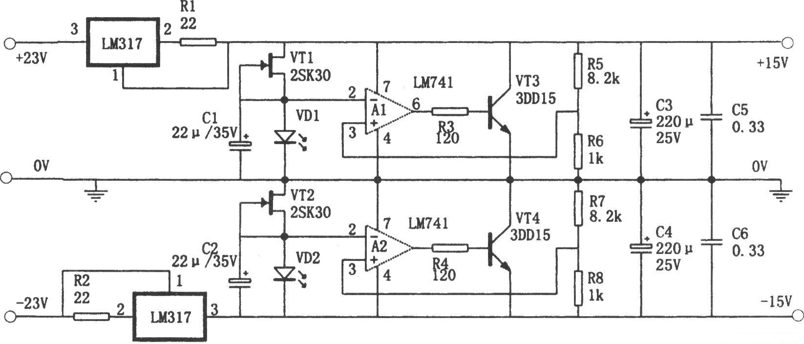
5.恒流并聯穩壓電源電路

圖5 LM317構成的恒流并聯穩壓電源電路
如圖5所示為恒流并聯式穩壓電源。它具有高速、低噪聲、低內阻的特點。采用LM317作為恒流源,可為負載提供560mA的恒定電流。場效應管2SR3D和發光管提供低噪聲的基準電壓。LM741(運放)作為誤差放大器,對基準電壓和取樣電壓進行比較和放大。兩只3DD15用來調整輸出電壓,以達到穩定輸出電壓的目的。
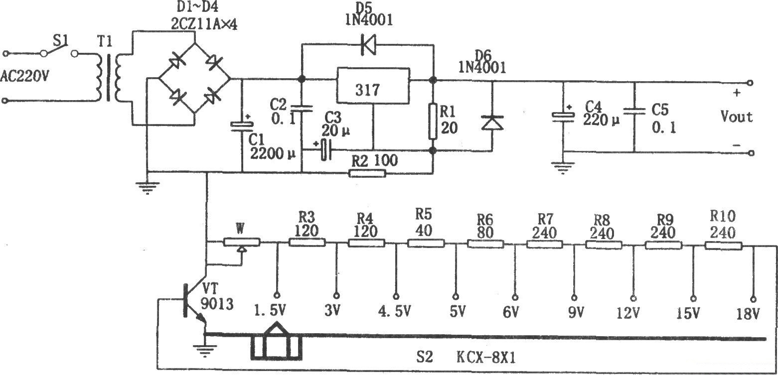
6.分擋可調直流穩壓電源電路

圖6 LM317構成的分擋可調直流穩壓電源電路
如圖6所示為分擋可調直流穩壓電源。本電源主要以可調式三端穩壓器LM317為核心,在LM317的調整端接有可調電位器W、電阻R3~R10及九擋撥動開關S2和三極管VT,通過調節S2,在輸出端可得到固定的9擋不同的輸出電壓。三極管VT的作用是防止S2在撥動中出現暫時斷開或接觸不良,導致輸出電壓過高而損壞負載。R3~R10的阻值僅供參考。
7.5A恒流穩壓電源電路
利用LM317與LM301組成的5A恒流穩壓電源電路

圖7 LM317與LM301組成的5A恒流穩壓電源電路
8.觸摸控制穩壓電源

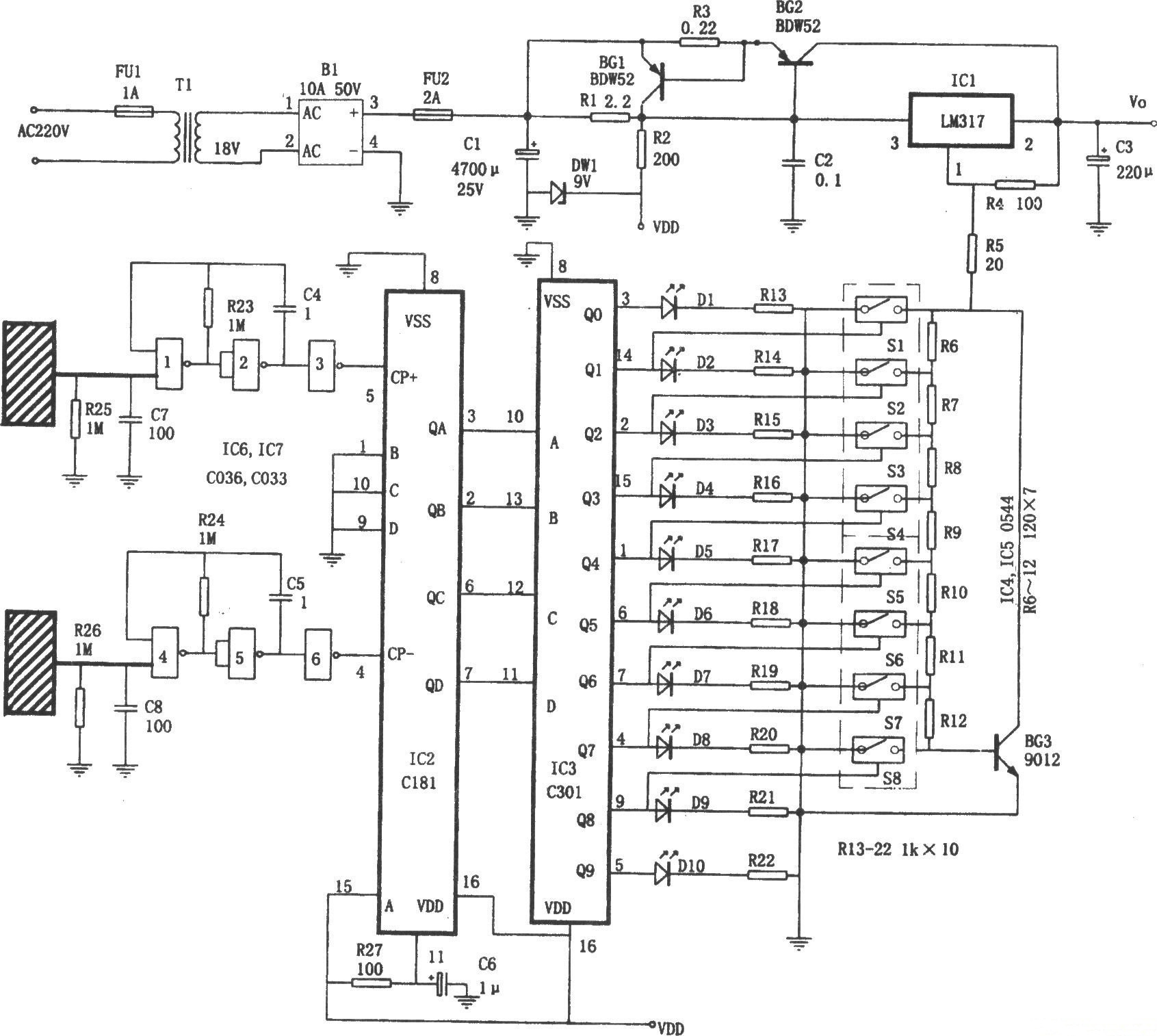
圖8 LM317與C181、C301構成的觸摸控制穩壓電源電路
如圖8所示為觸摸控制穩壓電源。本電源采用數字集成電路和模擬開關控制LM317控制端(ADJ)與地之間的電阻值,從而代替了傳統的電位器,使得操作方便,只需觸摸金屬片就可調整輸出電壓。輸出電壓有:l.5V、3V、4V、5V、6V、7.5V、9V、12V 8擋,而且輸出電壓的大小由發光二極管直觀顯示,最大輸出電流為1.5A。
9.1.25V~30V連續可調穩壓電源
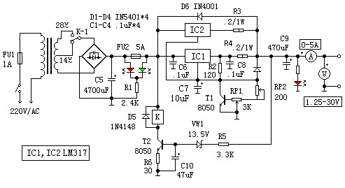
圖9電路中,由T2、D5、VW1、R5、R6、C10及繼電器K構成自適應切換動作電路。當輸出電路低于14V時,VW1因擊穿電壓不夠而截止,無電流通過,T2截止,K不吸合,其觸點K在常態位置,電路輸入電流14V交流電。反之當輸出電壓高于14V時,VW1擊穿導通,T2亦導通,繼電器K吸合,28V交流電接入電路。這樣可以保證輸入電壓與輸出電壓差不會大于15V,此時,LM317輸出電流典型值為2.2A。圖中采用了兩塊LM317供電,整個電路輸出電流可在4A以上。由于兩塊LM317參數不可能一樣,電路中在LM317輸出端串接了小阻值電阻R3、R4,用以均分電流。

圖9 1.25V~30V連續可調穩壓電源原理圖
輸出電壓調整由RP1、RP2完成。附加晶體管T1的目的在于避免電位器RP1滑動端接觸不良,使W317調整公共端對地開路,造成輸出電壓突然變化,損壞電源及負載。
雙色發光二極管作為保險絲熔斷指示器(紅光)兼電源只是器(橙色光)。當電源正常時,兩只發光二極管均加有正向電壓,紅、綠發光二極管均發光,形成橙色光。當保險絲FU2斷開時,僅紅色發光管加有正向電壓,故此時只發紅光。
為保證穩壓準確,設計電路板時主電流回路應足夠寬,并焊上1mm以上的銅導線或涂錫,以減少紋波電壓。C6、C8盡量靠近LM317的輸入、輸出端,并優先采用無感電容。C5如無合適容量,可用幾只電容并聯。R3、R4可用錳絲自制。
調試時,調整RP1、RP2應使繼電器在電源輸出14V左右時吸合,否則可調換穩壓二極管再試。
10.LED恒流源電路

圖10 LM317構成的LED恒流源電路
本電路圖為一款利用LM317的LED恒流源電路圖。LED要恒流供電,不然容易老化損壞。可以用LM317,原理是利用317的啟探控電壓不變,再除電阻,就是恒流值。燈可以根據需求接多少個。改變R1可改變電流,電流=1.25/R1。電路如圖10所示。
電話:18923864027(同微信)
QQ:709211280
〈烜芯微/XXW〉專業制造二極管,三極管,MOS管,橋堆等,20年,工廠直銷省20%,上萬家電路電器生產企業選用,專業的工程師幫您穩定好每一批產品,如果您有遇到什么需要幫助解決的,可以直接聯系下方的聯系號碼或加QQ/微信,由我們的銷售經理給您精準的報價以及產品介紹

